Future Apple Pencils could transform to feel like drawing with fountain pens or paintbrushes
Airfind news item
By William Gallagher
Published on March 10, 2026.
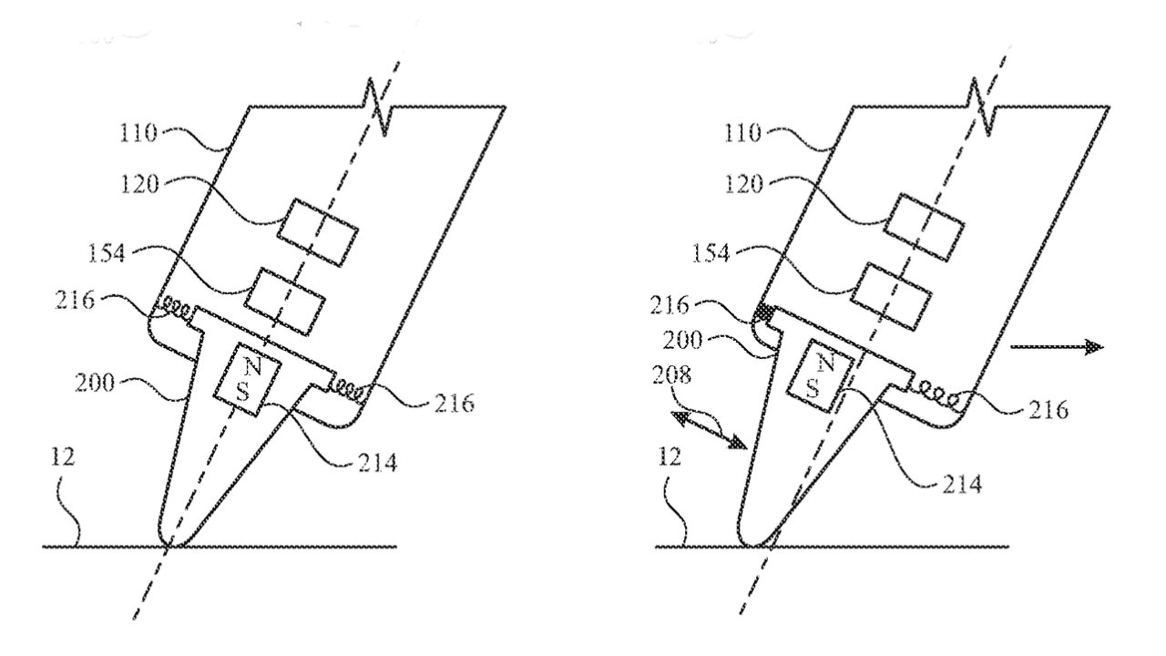
Apple has granted a patent to study how to adjust the Apple Pencil's tip angle, haptic feedback, weight distribution, and even stiffness to make it feel like a tool for painting or calligraphy. The patent, named "Stylus with adjustable features," is about how the physical design can change, or appear to change depending on the user's needs. It suggests that the ApplePencil could adapt itself to the current task by changing its own characteristics, such as shape, stiffness, flexibility, friction, and the like. The proposal also mentions the possibility of a touch-sensitive surface that could extend the current tap controls. If implemented, it will be a radical development of a device that has become crucial for its use.
Read Original Article